Hydraulický lis WPP 50 E
- Kompletní specifikace
- Hodnocení 0
Hydraulický lis WPP 50 ENa dotaz62 131 Kč51 348 Kč bez DPH
Kompletní specifikace
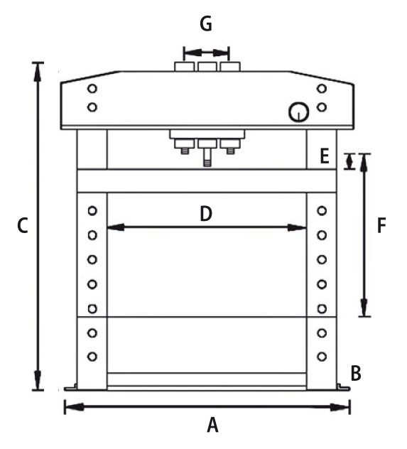
Hydraulický lis s lisovací silou 50 tun s deseti polohami výškového nastavení.
Max. lisovací tlak: 50 t
Zdvih pístu: 200 mm
Průměr pístu: 75 mm
Pracovní výška: 68,5-1048,5mm
Celková výška: 1904mm
Podrobné rozměry:: A: 1030 mm<br>B: 800 mm<br>E: 68,5 mm<br>F: 1048,5 mm<br>D: 730 mm<br>C: 1920 mm
Hmotnost: 365 kg
Zboží zařazeno v kategoriích




.jpg)











